九州酷游官网

钢丝封条系列

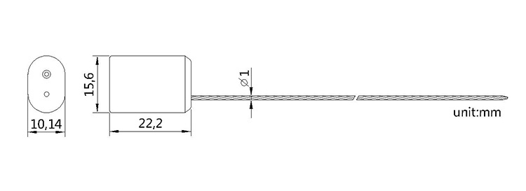
JCCS105

材质为外包ABS塑料,采用A3钢丝绳和粉末冶金

钢丝直径为1.00mm

可烫印或激光打标公司标志或名称、编码等

用于超市、石油、集装箱、铁路货箱、电表箱、银行钱袋等


钢丝封条JCCS105


钢丝封条

编号

JCCS101

JCCS009

JCCS102

JCCS103

JCCS104

JCCS105

JCCS106

JCCS201

材质

ABS

A3钢丝绳

ABS

锁体尺寸

26.5*14*

12

31.5*9.5*

18.85*12.9*5.23

22.8810.2*9

25.5815.5*8.7

22.2*15.6*10.14

26.5*17.3*16

26.5*13.88*12.2

直径

1.0mm/1.8mm

打标方式

激光打标/烫印

拉力

>1.6KN

>3.5KN

>1.6KN

>3.5KN

用途

油罐锁

超市、石油、集装箱、铁路货箱、电表箱、银行钱袋等

颜色

红、黄、橙、蓝、绿等

钢丝绳材质

A3钢

钢丝绳长度

可按客户要求定制

钢丝绳规格

7*7

打标内容

数字、字母、标志、条形码等

包装

100条/袋,1000条/箱,可按客户指定方式定制包装

山东省庆云县九州酷游官网锁业有限公司位于山东与京津冀交接的枢纽之城德州市庆云县,公司成立于1990年,2008年正式改名为“九州酷游官网锁业”,是中国较早专注于铅封锁具和仓储物流终端产品研发的制造企业之一。自成立以来,发挥行业作用,为封条行业以及仓储物流产业、中国智慧物流发展做出了不菲的贡献。

企业自建厂房占地面积二万多平方米,设备460多台,员工300余名,有高水准的研发团队及高素质的员工队伍。集仪表铅封、一次性封条、高保封、电子铅封、塑料扎带、GPS定位封、周转箱等产品的研发、设计、生产、销售为一体。 经过十多年的发展,已成为规模与影响力的仓储物流终端产品的综合提供企业,企业年产值连续4年2亿元以上。

公司是中国石油、中国海油、中国石化的合格供货商;是国家电网、南方电网的常年供应商;是中铁快运、顺丰快递、京东物流等物流企业的重要合作伙伴。产品适用于铁路、航空、港口、电力、石油、化工、邮政、通信、制药等行业领域。服务网络覆盖至全球市场。 在新老客户中树立了良好的声誉,达成了长期稳定的合作关系。


上一产品:JCCS202

下一产品:JCCS106

其他同类产品


©2018 CopryRight 九州酷游官网锁业 版权所有 备案号: